通信与广电工程
简答题某施工单位承接了一处传输系统工程,包括设备安装和利旧管道光缆线路工程,其中利旧管道线路工程采用GYFDT63 144B1.3光缆,下表为常用光缆施工机具仪表:
利旧光缆施工中,采用如下两种方式,当前光缆状态如图所示:

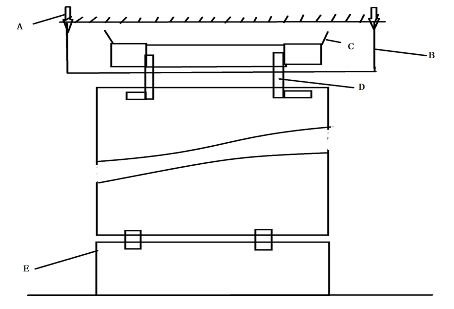
传输设备安装工程中,某设备安装固定示意图如下:

施工中,因封网停工一周,解封后,新的施工队发现某站200MM电源已布放完毕,头柜侧已完成链接,但分支柜侧还未穿入机柜。为确保安全,施工队根据现状确定了后续电源连接三个步骤操作。
问题:
1.图1-1、1-2中对应名称是什么?(每个1分,共3分)
2.图中两个工序哪个进展速度快(共3分)
3.选出制作光缆中断必须的5种仪表工具(每个1分,共5分)
4.设备安装图中A-E分别是(每个1分,共5分)
5.电源线连接的后续的三个步骤是:(共4分)
|
序号 |
类别 |
数量 |
|
1 |
组合式工具包 |
1套 |
|
2 |
热风枪 |
2把 |
|
3 |
带状光缆熔接机 |
2台 |
|
4 |
带状光缆剥纤钳 |
2把 |
|
5 |
OTDR |
2台 |
|
6 |
单芯光缆熔接机 |
2台 |
|
7 |
单芯光纤剥线钳 |
2把 |
|
8 |
光纤切割刀 |
2把 |
|
9 |
光缆开剥刀 |
2把 |
|
10 |
1.5米人字梯 |
2把 |
|
11 |
扳手 |
2把 |
|
12 |
电锤 |
2把 |
利旧光缆施工中,采用如下两种方式,当前光缆状态如图所示:

传输设备安装工程中,某设备安装固定示意图如下:

施工中,因封网停工一周,解封后,新的施工队发现某站200MM电源已布放完毕,头柜侧已完成链接,但分支柜侧还未穿入机柜。为确保安全,施工队根据现状确定了后续电源连接三个步骤操作。
问题:
1.图1-1、1-2中对应名称是什么?(每个1分,共3分)
2.图中两个工序哪个进展速度快(共3分)
3.选出制作光缆中断必须的5种仪表工具(每个1分,共5分)
4.设备安装图中A-E分别是(每个1分,共5分)
5.电源线连接的后续的三个步骤是:(共4分)
参考答案:暂无进入在线模考
1.A:放缆支架(光缆支架)、B:单盘光缆(光缆盘)、C:光缆盘8字
2.图2进展进展速度更快
3.带状光缆熔接机 带状光缆剥纤钳 OTDR 光纤切割刀 光缆开剥刀
4.A:锚栓(膨胀螺栓)B:吊挂(吊杆)C:走线槽D:连接板(连固铁)E:底座(抗震底座)
5.(1)确保供电侧(主柜侧)熔丝或空气开关处于断开状态(1分)
(2)布放分柜侧电源线(1分)
(3)依次连接保护地、工作地和工作电源,先连接供电侧(主柜侧)端子,后连接受电侧(分柜侧)端子(2分)
2.图2进展进展速度更快
3.带状光缆熔接机 带状光缆剥纤钳 OTDR 光纤切割刀 光缆开剥刀
4.A:锚栓(膨胀螺栓)B:吊挂(吊杆)C:走线槽D:连接板(连固铁)E:底座(抗震底座)
5.(1)确保供电侧(主柜侧)熔丝或空气开关处于断开状态(1分)
(2)布放分柜侧电源线(1分)
(3)依次连接保护地、工作地和工作电源,先连接供电侧(主柜侧)端子,后连接受电侧(分柜侧)端子(2分)
你可能感兴趣的试题
3某施工单位承接一项光缆线路整治工程,建设单位要求本项目执行新的质量标准,并要求尽快安排现场勘查。施工单位根据设计文件、相关法律法规及标准规范、企业内部施工定额及相关管理制度编制了实施性成本计划。
项目部编制了直接成本和间接成本表,内容包括:
施工单位在整治过程有一处光缆需要进行割接,施工单位编制割接方案后报送建设单位,建设单位以报送流程不符合要求让施工单位重新报送。
某处架空杆路终端杆整治示意图如下:

问题:
1、补充实施性成本计划编制依据。(每条1分,共5分)
2、指出表4中成本归属的错误,计算归属正确的直接成本和间接成本。(5分)
3、成本计划编制的方式,本项目采用哪种方式。(4分)
4、事件1中割接需要掌握光缆哪些主要信息。(3分)
5、割接方案的正确审批程序。(3分)
6、指出图中不符合规范的地方,并说明理由(共10分)
项目部编制了直接成本和间接成本表,内容包括:
|
类 |
项 |
金额(元) |
类 |
项 |
金额(元) |
|
直
接
成
本
|
人工费 |
85000 |
间
接
成
本
|
管理人员工资 |
30000 |
|
材料费 |
6700 |
办公费 |
4500 |
||
|
机械使用费 |
2300 |
差旅费 |
6500 |
||
|
仪表使用费 |
5000 |
分包费 |
26000 |
||
|
其他直接费 |
3500 |
OTDR购置费 |
5500 |
施工单位在整治过程有一处光缆需要进行割接,施工单位编制割接方案后报送建设单位,建设单位以报送流程不符合要求让施工单位重新报送。
某处架空杆路终端杆整治示意图如下:

问题:
1、补充实施性成本计划编制依据。(每条1分,共5分)
2、指出表4中成本归属的错误,计算归属正确的直接成本和间接成本。(5分)
3、成本计划编制的方式,本项目采用哪种方式。(4分)
4、事件1中割接需要掌握光缆哪些主要信息。(3分)
5、割接方案的正确审批程序。(3分)
6、指出图中不符合规范的地方,并说明理由(共10分)
最新试题
背景资料: 某通信光缆线路工程包括架空线路和直埋线路两部分,合同工期为 45 天。项目部分解的工作名称、工作代号、各项工
类型:简答题2025-05-30
背景资料: 某光缆线路工程的主要工程量及各项工作的成本单价见表;项目部制定的本工程的进度计划见图;第三周末各项工作完成情
类型:简答题2025-05-30
背景资料: 某施工单位承接了一项通信线路工程,合同造价100万元,采用包工不包料的方式,包括新建架空线路以及利旧管道线路
类型:简答题2025-05-30
背景资料: 某施工单位承担了一项管道光缆线路工程,工程分三批进行。开工前,项目负责人组织项目部人员收集了工程中所需技术文
类型:简答题2025-05-30
背景资料: 某施工单位承接了一移动通信基站设备安装工程,施工内容包括安装天线、布放馈线、安装无线主设备及PTN传输设备,
类型:简答题2025-05-30
关于通信工程安全施工要求说法正确的是( )。
类型:多选题2025-05-30
( )情况不得高空作业。
类型:多选题2025-05-30
拉线地锚坑的洞深,应根据( )情况确定。
类型:多选题2025-05-30
DWDM系统合波器测试指标中插入损耗测试仪表有( )。
类型:多选题2025-05-30
关于机架设备安装说法不正确的是( )。
类型:多选题2025-05-30
